您当前的位置: 首页 > 政务 > 信息公开目录 > 通知公告
烟花爆竹经营(零售)许可线上申请指南
登录网站:
zwfw-new.hunan.gov.cn/hnzwfw/1/186/43759/index.htm
网站登录界面

注册账号:
点击界面最上方的"注册",申请账号。
注意:申请烟花爆竹经营(零售)许可企业请使用法人注册。
注册页面

法人注册页面

务必牢记自行设置的密码
登录
使用社会信用代码和注册时设置的密码登录

申请许可:
1.从市门户网站办理行政许可的
(1)在线办理。选择"市应急局"

事件类型选择"行政许可",服务事项选择2.2、烟花爆竹经营(零售)许可,点击在线办理

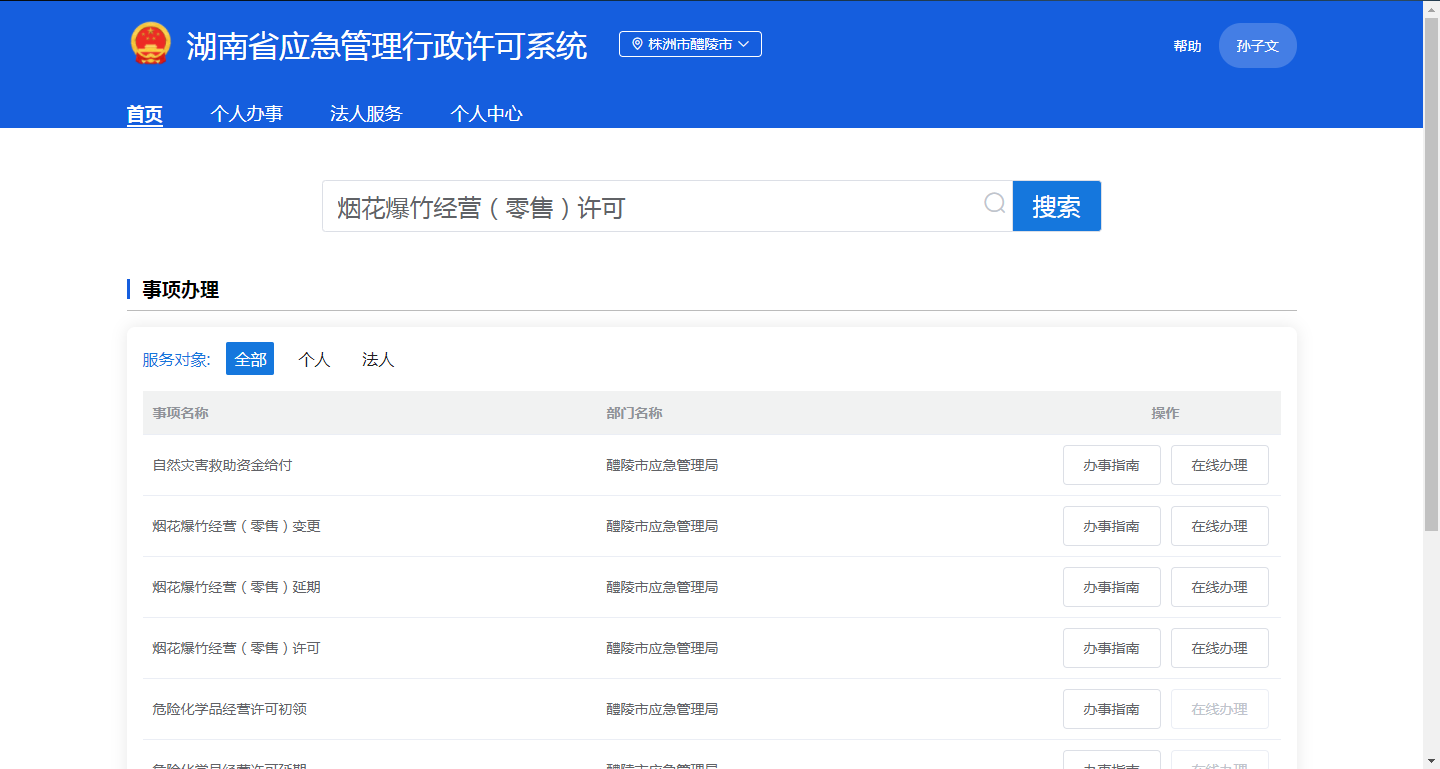
2.从省厅入口进入办理行政许可的
(1)选择办理许可范围:
湖南省--->株洲市--->株洲市醴陵市--->前往


(2)在线办理
在搜索栏里输入"烟花爆竹经营(零售)许可"点击搜索,或者在"事项办理"列表中找到"烟花爆竹经营(零售)许可"点击"在线办理"


3.资料上传
申请烟花爆竹经营(零售)许可需要上传七项资料,如下图所示。

按规定缴纳工伤保险、购买安全生产责任险的证明材料。需上传安全生产责任险保单;企业为员工购买的工伤保险证明。上传的安全生产责任保险单和保险证明上被保险企业必须与申请许可的企业名称一致,只上传保险发票的无效。
工商营业执照副本或企业名称登记保留意见书(复印件)。上传的营业执照副本或者企业名称登记保留意见书必须与申请许可企业一致。注意,此处不是上传烟花鞭炮(零售)许可。
单位负责人身份证、安全培训合格证(复印件),销售人员经过安全知识教育材料。上传单位负责人身份证(正反面)、安全培训合格证,销售人员经过安全知识教育的材料。注意:销售人员、企业法人与负责人不是同一人的,需要开具任命书。
经营场所的房屋租赁合同或产权证明文件。1、经营场所所有权为企业法人代表或负责人的:需上传不动产证明和不动产经营性质变更证明,未办理不动产证的,需由所在乡镇(街道)开具"未取得不动产证权属证明";2、经营场所所有权不是企业法人代表或负责人的:除需上传不动产证明和不动产经营性质变更证明外,还需要上传经营场所租赁合同。
安全管理责任制、规章制度和操作规程清单。包含六项内容:1、主要负责人岗位责任制度。2、安全管理人员岗位责任制。3、销售人员岗位责任制。4、零售安全管理责任制度。5、零售操作规程。6、应急救援预案。
经营场所设立的安全条件(包括位置、面积、结构、安全距离、临近零售店情况、消防器材、安全警示标注等)说明材料(含平面图、现场照片)。经营场所(专店、专柜)设立封闭式货柜照片和经营场所位置及周边情况示意图、平面图,经营场所配备消防器材清单、有效期限说明及图片,经营场所安全警示标志清单
烟花爆竹经营(零售)许可证申请书。需上传完整的申请书,包含五项:封面、申请表、布点审批表、现场审查书和承诺书。
许可审批
审批通过。企业申请资料齐全且上传无误,审批部门会在5个工作日内受理。申请受理、办结阶段会以短信或电话形式通知企业。
审批未通过。企业到"个人中心","我的办件"查看申请件不通过原因。
(1)缺少或资料上传错误的:在原有办件基础上补全、更正所需资料,再次提交即可。注意:因缺件退回的请在原有基础上修改,不要重复申请。
(2)申请事项错误的:请核对所需办理事项,并重新提交申请。
申请编号:430281- 2024- 受理编号:430281-YH-
申请日期: 受理日期:
烟花爆竹零售许可证
申 请 审 查 书
单位名称:
经 办 人:
联系电话:
填写日期:
发证机关: 醴陵市应急管理局
湖南省应急管理厅监制
烟花爆竹经营(零售)许可申请表
单位名称 | 主要负责人 | ||||||
联系电话 | 经营 方式 | 经济类型 | |||||
经营地址 | 经营场所面积 | ㎡ | |||||
社会信 用代码 | 登记 日期 | 有效期 | |||||
登记机关 | |||||||
从业 人数 | 销售 人数 | 专(兼)职安全管理 人员姓名 | |||||
申请经营范围及存放数量(折合药物总量) | 产品分类分 级 | 爆竹类(C级)、喷花类(C级、D级)、旋转类(C级、D级)、升空类(C级)、吐珠类(C级)、玩具类(C级、D级)、组合烟花类(C级、D级) | |||||
药物存放限 量 | 药物限量为 公斤 | ||||||
申请意见 | 本单位符合《烟花爆竹经营许可实施办法》第十六条规定条件,并对以上情况和所提供的文件、资料的真实性负责,申请办理烟花爆竹经营(零售)许可证。 主要负责人(签字): 申请单位盖章: 年 月 日 | ||||||
烟花爆竹经营(零售)单位布点审批表
单位名称 | |||||
经营地址 | 主要负责人姓名 | ||||
联系电话 | 身份证号 | ||||
零售场所使用面积(㎡) | 药物存放限量(KG) | ||||
布 点 条 件 | 现场审核结论 | ||||
零售场所面积不小于10平方米 | |||||
周边50米范围内没有其他烟花爆竹零售点 | |||||
周边50米范围内无学校、车站、码头、大型商场超市、幼儿园、老年活动室、医院等人员密集场所 | |||||
周边100米范围内无加油站、煤气站等易燃易爆物质生产、储存设施 | |||||
有专柜销售,专柜相对独立,并与其他柜台保持一定的距离,保证安全通道畅通 | |||||
零售场所配备必要的消防器材,并张贴明显的安全警示标志 | |||||
现场审核人签字 年 月 日 | |||||
应急办 意 见 | 主任签字: 年 月 日 (公 章) | ||||
镇街 人民政府(办事处)意见 | 负责人签字: 年 月 日 (公 章) | ||||
注:此表由应急办审核人填写后,报镇街领导审批。
烟花爆竹经营(零售)许可审查书
审查内容及审查结 果 | 审查内容 | 审查方法 | 应急办审查意见 | |
审查结果 | 审查人签名 | |||
1、工商营业执照或预先名称核准通知书 | 审查工商营业执照或预先名称核准通知书是否有效。 | |||
2、聘用安全管理人员或专职销售人员 | 审查是否实际聘用。 | |||
3、主要负责人、安全管理人员安全生产责任制 | 审查各项安全生产责任制是否齐全并符合法定条件。 | |||
4、管理制度和操作规程 | 各项管理制度、操作规程是否齐全并符合法定条件。 | |||
5、货物运输配送协议 | 审查是否与有资质的单位签订货物运输配送协议。 | |||
6、主要负责人安全资格证书 | 审查主要负责人安全资格证书是否有效。 | |||
7、销售人员培训考核 | 审查销售人员是否经培训考核取得安全资格证。 | |||
8、按规定缴纳工伤保险、购买安全生产责任险的证明材料。 | 审查单位是否按照规定足额缴纳工伤保险、购买安全生产责任险,是否在有效期内。 | |||
9、安全事故应急救援 | 审查是否编制应急救援预案 | |||
10、经营场所安全设施设置 | 审查是否设立封闭式货柜,是否配备消防器材、器材,并是否在有效期内。 | |||
11、经营场所设立安全条件 | 审查经营场的选址与布局、建筑物结构、电气与消防及其他安全条件是否符合《关于深化烟花爆竹零售经营安全专项治理的通知》(安监总厅管三〔2017〕97号)关于烟花爆竹零售点基本安全条件的要求。 | |||
12、经营场所安全警示标志清单 | 审查是否在醒目及需要位置设立安全警示标志。 | |||
注:审查结果填写审查意见为:"符合条件"或"不符合条件"。
乡镇街道应急办对现场安全条件审查意见 | 应急办主任(签名): 年 月 日 (公 章) |
市应急管理局意见 | 现场审核人(签名): 年 月 日 审查人(签名): 年 月 日 审批人(签名): 年 月 日 (公 章) |
关于烟花爆竹经营(零售)的承诺书
醴陵市应急管理局:
因我在 镇(街道) 村(社区) 的烟花爆竹零售门店布置在 层建筑物内,按照《烟花爆竹安全管理条例》《烟花爆竹生产经营安全规定》《烟花爆竹零售店(点)安全技术规范》(AQ4128-2019)等关于烟花爆竹零售点基本安全条件的相关规定,我承诺:1.仅在一楼规定的范围内进行经营活动,一楼以上不得用于生活、生产、经营、储存等任何用途;2.不参与任何形式的非法生产,不经营任何无正规来源的烟花爆竹产品。以上内容如有违反,我将自愿注销烟花爆竹零售许可证,不再进行烟花爆竹经营活动,并承担相关法律责任。
特此承诺。
承诺人(盖章):
年 月 日
烟花爆竹经营(零售)许可证申报资料目录
1.烟花爆竹经营(零售)许可申请表;
2.烟花爆竹经营(零售)许可审查书;
3.按规定缴纳工伤保险、安全生产责任险的有关证明材料;
4.工商营业执照副本或企业名称登记保留意见书;
5.单位负责人、销售人员身份证及安全培训合格证;
6.聘用安全管理人员或专职销售人员文件
7.经营场所产权证明文件及房屋租赁合同;
8.安全管理责任制、规章制度和操作规程清单和内容;
9.烟花爆竹安全事故应急救援预案。
10.经营场所(专店、专柜)设立封闭式货柜照片和经营场所位置及周边情况示意图;
11.经营场所配备消防器材清单、有效期限说明及图片
12.经营场所安全警示标志清单;
13.布点在两层以上的建筑物内的零售点仅使用一楼的承诺书(后附承诺书样本);
14.与有资质的批发经营单位签订的货物购销、配送协议;
备注:
①烟花爆竹零售经营布点审批表必须填报签字盖章。
②所有的复印件必须带原件核查。
③所有的资料按顺序装订成册,一式三份。
④所有资料应加盖申请单位公章。
⑤非申请人办理许可事项的,需由申请人下达委托代办书(需由申请人签名、盖单位公章)