您当前的位置: 首页 > 专题 > 醴陵教育 > 通知公告

民办学校行政许可审批登记流程

发布时间:2020-10-29 访问: 作者: 来源: 字体[ ]


1.设立非营利性民办学校(中等及以下层次)审批登记流程


2.设立营利性民办学校(中等及以下层次)审批登记流程



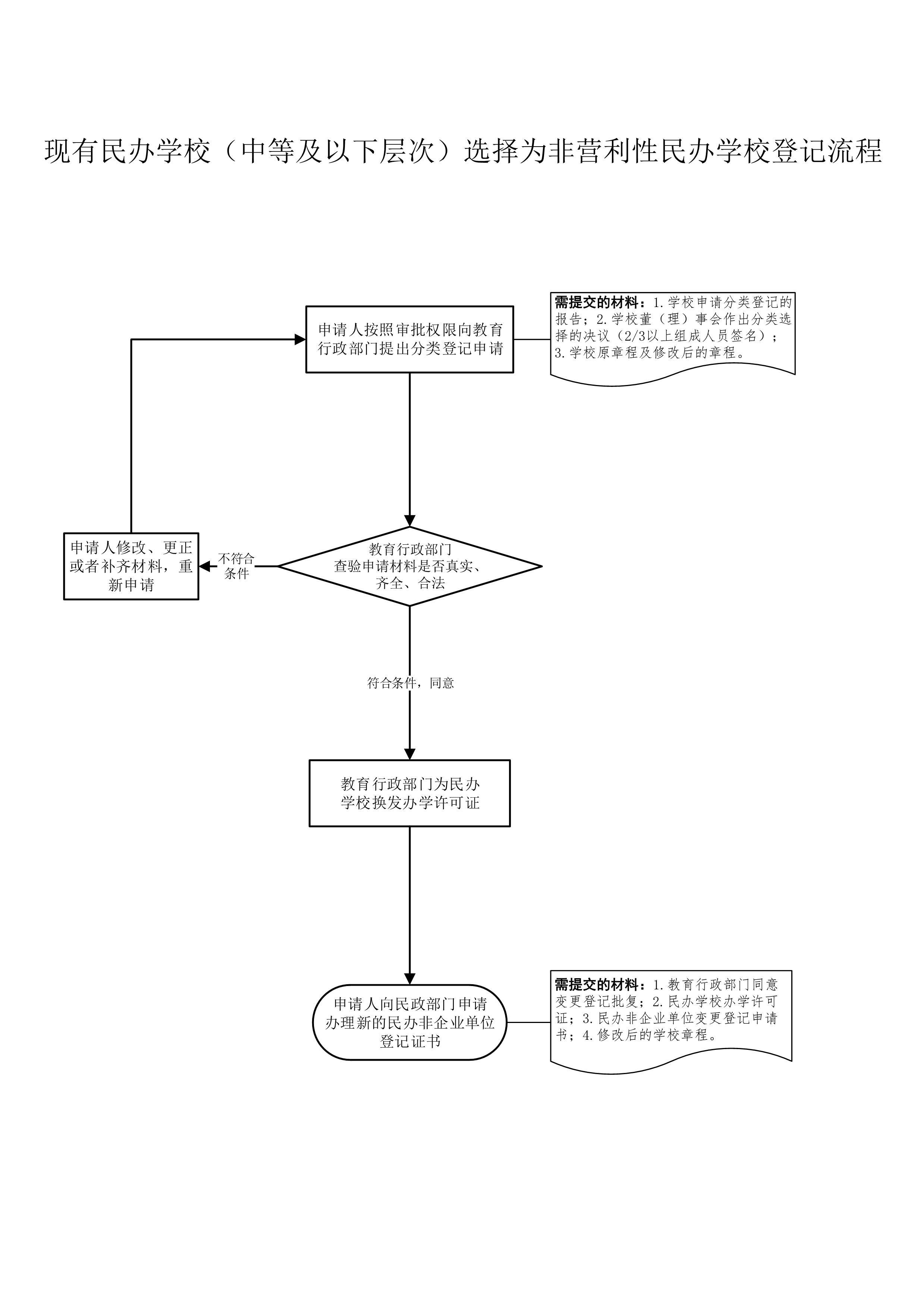
3.现有民办学校(中等及以下层次)选择为非营利性民办学校登记流程


编辑:醴陵市教育局

【打印本页】 【关闭窗口】
分享到: